您好,欢迎您访问无锡华锦源环保科技有限公司的官方网站!

你所在的位置:网站首页 > 产品展示

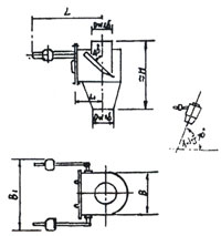
HJ-XS系列斜板式锁气器

斜板式锁气器的作用原理于锥式锁气器一样,它的重锤质量可以调节,使煤粉积到一定量时活门开启一次,煤粉通过后又迅速关闭。锁气器的直径应选择于管道直径相等。


斜板式锁气器由于结构简单,使用方便,多般被用于粗粉分离器的回粉管上,能够防止气流窜流,起到密封作用。本产品具有六种不同规格,规格的通煤量可达98吨/时。

安装时斜板式锁气器与水平的倾斜角度65°~70°,重锤杆应保持水平。


垂直于锁气器的粉柱密封高度,宜按粗粉分离器进口与磨煤机进口的负压差计算,但不宜小于800毫米。

上一页:HJ-MXF系列本屑分离器
下一页:耐磨可调缩孔(单芯、双芯)

CONTACT US

联系我们

欢迎您通过以下方式联系华锦源环保 / 或者给华锦源环保留言
华锦源环保,与您同行,没有好,只有更好。这是公司一直努力的奋斗目标。

联系人:杭锦
手机:15161528509

电话 TEL:
0510-85187068

传真 FAX:
+0510-85183818

邮箱 E-MAIL:
sales@hjdlsb.com

地址 ADD:
宜兴市周铁镇竺西工业园中兴路1号

(标有* 记号的为必填选项)