您好,欢迎您访问无锡华锦源环保科技有限公司的官方网站!

你所在的位置:网站首页 > 产品展示

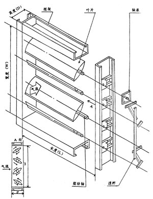
调节挡板风门

调节档板风门用于烟风管路中作调节流量之用,当档板风门在90°行程内开度变更时,通过管路中的工质流量也相应变更。风门调节特性优良,转动灵活。

  用户在选用调节档板风门时应注意以下几项。

   1、调节档板风门规格中的宽(W)和长(L)是指风门框架的内边尺寸,宽度是档板轴垂直方向的尺寸,调节档板风门高度(D)与叶片宽度有关,本系列的尺寸均采用450mm。

   2、根据与调节档板风门相接管道的内边尺寸选择风门,尽可能使两截面尺寸保持一致。

   3、风门在管路布置中,应保持档板轴处在水平位置。

   4、本系列调节档板不能截断管路工质的流动,故需与关闭档板风门或隔绝门连用。

   5、对系列中未包括的规格,根据用户需要,可进行特殊设计。

   6、调节档板风门订货时应提出使用工况参数。

   ① 工作压力(P)KPa。

   ② 工作温度(t)℃

   ③ 工作介质。

   ④ 风门在管路中的用途及位置。

   7、供货范围:

  风门本体及电动执行机构。

调节档板风门结构简图

上一页:防爆门
下一页:HJ-DF系列电动木块分离器

CONTACT US

联系我们

欢迎您通过以下方式联系华锦源环保 / 或者给华锦源环保留言
华锦源环保,与您同行,没有好,只有更好。这是公司一直努力的奋斗目标。

联系人:杭锦
手机:15161528509

电话 TEL:
0510-85187068

传真 FAX:
+0510-85183818

邮箱 E-MAIL:
sales@hjdlsb.com

地址 ADD:
宜兴市周铁镇竺西工业园中兴路1号

(标有* 记号的为必填选项)